EBARA Q Fire Pump
EBARA Q Fire Pump is Air pressure tank, The motor is an air-cooled two-stage standard motor,The motor flow range is N/A, and the flow rate is N/A.
If you are in need of Pump model that not available on our website for the moment, please contact EMAC sales team for technical details and related documents, our well trained sales and engineering team will help you with all products and techical documents available here at EBARA.As part of EMAC, PumpMac provides abundant premium pump-driven power pack options, WPT PTO, Advance gearbox and pump head, as well as customized water pump set. We also have a set of NFPA20 standard engine power pack accessories including air intake shut-off valve, DC contactor, engine control panel, jacket water heater etc. We provide full life cycle services for all customers, from design to power system supply, from installation to commissioning, from after-sales service training to spare parts supply, from trouble shooting to overhaul technical support.
EBARA Q fire pump is a complete set of fire protection products developed by our company according to market needs. Its performance and technical conditions meet the latest GB27898.3-2011 “Fixed Fire Water Supply Equipment Part 3: Fire Pressure Boosting and Stabilizing Water Supply Equipment”. The product has passed the inspection of the Fire Products Conformity Assessment Center of the Ministry of Emergency Management and obtained the fire protection certification. We provide all customers with full life cycle services from design to power supply, from installation to commissioning, from after-sales service training to spare parts supply, from fault handling to overhaul technical support.
EBARA Q fire pump sets are mainly used for water supply of fire hydrant systems, automatic sprinkler systems and water spray fire extinguishing systems in industry and construction. EMAC will continue to update the product introduction page of different versions of pumps. Welcome to subscribe to our website to get the latest update information.
General Specifications of Q Series
| model: | Q |
| flow: | N/A |
| Lift: |
N/A |
| power: |
N/A |
| Total volume – pressure: |
N/A |
| frequency: | N/A |
| Voltage: | N/A |
| Protection level: | N/A |
| Gross weight: | N/A |
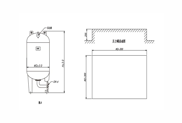
Q Fire Pump Structure diagram

| Total volume | Size – 10bar | Size – 16bar | Size – 25bar | Interface size | |||
| liter | H(mm) | D(mm) | H(mm) | D (mm) | H (mm) | D(mm) | d(mm) |
| 850L | 1980 | 800 | 1980 | 800 | 1980 | 800 | 50 |
| 1000L | 2380 | 800 | 2380 | 800 | 2380 | 800 | 50 |
| 1500L | 2450 | 950 | 2450 | 950 | 2450 | 950 | 50 |
EBARA Q Fire Pump
This is the list of all series of Q Fire Pump.
Click here to find pumps by type (Fire pump power).
EMK
Pump Model: EMK
Flow Range: N/A
Power Range: 7.5 ~ 160 kW
Gross Weight: N/A
WZ
Pump Model: WZ
Flow Range: 1 ~ 30 L/S
Power Range: 0.55 ~ 45 kW
Gross Weight: N/A
ZY
Pump Model: ZY
Flow Range: 20 ~ 30 L/S
Power Range: 11 ~ 75 kW
Gross Weight: N/A
W
Pump Model: W
Flow Range: 1.1 ~ 3.5 L/S
Power Range: 0.75 ~ 5.5 kW
Gross Weight: N/A
XBD/CN
Pump Model: XBD/CN
Flow Range: 85 ~ 350 L/S
Power Range: 110 ~ 630 kW
Gross Weight: N/A
XBD-MS
Pump Model: XBD-MS
Flow Range: 20 ~ 65 L/S
Power Range: 7.5 ~ 200 kW
Gross Weight: 190 ~ 370 kg
XBD-EVM
Pump Model: XBD-EVM
Flow Range: 0.8 ~15.0 L/S
Power Range: 0.75 ~ 37 kW
Gross Weight: 27.8 ~ 389 kg
XBD/LPD
Pump Model: XBD-LPD
Flow Range: 10-200 L/S
Power Range: 5.5-160 kW
Gross Weight: 98-1615 kg
XBD-FS
Pump Model: XBD-FS
Flow Range: 7 ~ 240 L/S
Power Range: 4 ~ 3115 kW
Gross Weight: 110 ~ 2747 kg









